QR-Code
Über uns
Produkte
Kontaktiere uns

Telefon

Fax
+86-579-87223657

Email

Adresse
Wangda Road, Ziyang Street, Kreis Wuyi, Stadt Jinhua, Provinz Zhejiang, China
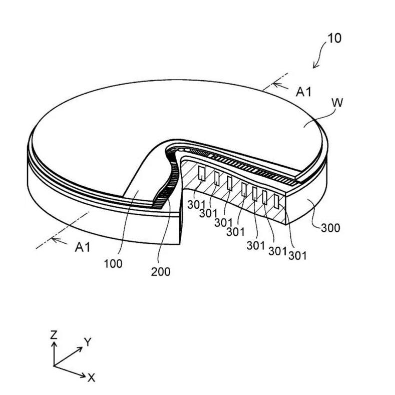
Das entschlossene Prinzip derElektrostatisches Chuckist ein wesentlicher Bestandteil seines Workflows, der elektrostatische Kraft -Eliminierung und Waferfreisetzungsmechanismen beinhaltet. Das Folgende ist eine detaillierte Analyse:
Der Kern von DeChuck besteht darin, die am Wafer adsorbierte elektrostatische Kraft zu eliminieren oder zu neutralisieren, und die spezifischen Methoden umfassen:
Yodaoplaceholder0 reduziert die Stromversorgung
Hören Sie auf, eine Gleichstromspannung auf die Elektrode anzuwenden, um das elektrische Feld allmählich zu beseitigen.
Yodaoplaceholder0 Rückspannung oder Gaseinspritzung
Einige Systeme wenden die Rückspannung an oder führen inerte Gase (wie er, n₂) ein, um die Ladungsneutralisation oder physikalische Trennung zu beschleunigen.
Vergleichen wir die professionellen Techniken der ESC -Produktion und sehen zuerst, ob das Unternehmen eine solche Skala erreichen kann.
CAE -Analysetechnologie, Plattenfunktionsmaterialien, Elektrodendesign, Analysetechnologie, Kühlkanal -Technologie, Heizungsdesign -Technologie, leitendes Personal in Halbleitergeräten.
Japanische und südkoreanische Unternehmen müssen mit solch relevantem Personal voll besetzt sein. Wenn nicht, müssen Sie nicht über die Technologie des Unternehmens sprechen.
Die Chuck -Technologie, Elektroden, Discs und sogar das HE -Flussprinzip wurden noch nicht geklärt. Lassen Sie uns einen rauen elektrostatischen Saugnepokal erstellen. Solche Unternehmen werden direkt weitergegeben. Sie werden im Grunde genommen verwendet, um das Geld der Anleger einzudämmen. Dies ist das grundlegende Niveau des Wissens wie. Investoren sollten auch ein Unternehmen aufgeben, das mit Kartenspielen spielt und keine Mitarbeiter mit über 10 Jahren Erfahrung in der Ätzengeräte hat, da dies kein Unternehmen ist, das praktische Dinge tut.
Wenn es um Pulverschuss in der Branche geht, sind alle im selben Bereich. Jeder hat eine eigene einzigartige Formel. Welches hat nicht die Kraft, mit gesinterten Keramikoberflächen ausgestattet zu werden? Anleger können diese Konfigurationen oder Unternehmen auch weitergeben, die sie nicht vollständig erfasst haben, da ihre grundlegende Logik gleich ist: Sie wollen Geld verdienen und keine Produkte entwickeln.
In Bezug auf die Reparatur sollten viele inländische Unternehmen die entsprechenden Fähigkeiten für L1 bis L3 inzwischen verfügen. Auch wenn die Fähigkeiten etwas fehlen, kann L1 dennoch damit umgehen. Für L3 und höher kann es entweder nicht repariert werden oder es kann unterauftragbar sein. In jedem Fall gibt es immer noch eine Möglichkeit, es zu reparieren.
L1 Reparaturoberflächenreparatur, Verbesserung der Oberflächenrauheit/Verbesserung/Beulenregeneration.
L2 Reparatur: Gelenkschichtreparatur, Wiederaufnahme der Metallbasis und Keramikscheibe/Wiederauffüllung der Gelenkschicht.
L3 Reparaturkeramikscheibenersatz, Keramikscheibe herstellen/rebung von Metallbasis und Keramikscheibe.
Guangdong Haituo Innovation Precision Equipment Technology Co., Ltd.
Das Unternehmen hält eine führende Position in der Konstruktion und Herstellung von elektrostatischen Diensten und Ausrüstungsgegenständen inländischer Elektro -Chicks als Kerntechnologie ein. Gegenwärtig hat Haituo Innovation eine kommerzielle Produktion von elektrostatischen Saugnäpfeln erreicht und die Lieferung von 4 Zoll an 12-Zoll-Halbleiter-Fabrostatik-Chicks abgeschlossen.
Peking Huazhuo Jingke Technology Co., Ltd.
Die vom Unternehmen unabhängig voneinander entwickelten elektrostatischen Saugnapfbecher entsprechen den relevanten Standards und der VerarbeitungAnforderungen der Halbleiterindustrie. Die im Frühstadium entwickelten 12-Zoll-PVD-Aluminium-Nitrid-Saugbecher haben das langfristige Monopol der ausländischen Hersteller in diesem Produktgebiet bis zu einem gewissen Grad gebrochen. Gegenwärtig hat Huazhuo Jingke die damit verbundene Technologie elektrostatischer Saugerbecher auf die Produktherstellung angewendet und eine kleine Massenproduktion erreicht. Es kann auch maßgeschneiderte Produkte für Kunden bereitstellen.
Im Jahr 2016 wurde ein führender Anbieter fortschrittlicher Beschichtungsmaterialien für die Halbleiterindustrie. Unser Gründer, ein ehemaliger Experte des Materials-Instituts der Chinesischen Akademie der Wissenschaften, richtete das Unternehmen mit Schwerpunkt auf der Entwicklung hochmoderner Lösungen für die Branche.
Unsere Hauptproduktangebote umfassen CVD Silicon Carbid (SIC) Beschichtungen, Tantal-Carbid-Beschichtungen (TAC), Schüttgutschicht, SIC-Pulver und SIC-Materialien mit hoher Purity. Die Hauptprodukte sind sic -beschichtete Graphit -Anfänger, Vorheizenringe, TAC -beschichtete Umleitungsring, Halbmoonteile usw. Die Reinheit liegt unter 5 ppm, kann die Kundenanforderungen erfüllen.
Zhejiang Xinna Materials Technology Co., Ltd.
Die von IT entwickelten elektrostatischen Saugnapfprodukte verfügen über Leistungsindikatoren, die den Anforderungen von Chip Manufacturing Enterprises entsprechen können. Sie verfügen über ausstehende Eigenschaften wie kontrollierbare Temperatur, gleichmäßige Adsorptionskraft, keine Kratzer oder Falten während der Adsorption und keinen Effekteffekt auf Wafer. Sie wurden durch führende Inlands -Semiconductor -Industrieunternehmen wie Yangtze Memory Technologies, Silan Microelectronics und North China Innovation zertifiziert und haben Umsatz erzielt. Es hat das Monopol der ausländischen Hersteller in diesem Produktbereich gebrochen.
Hebei Zhongci Electronic Technology Co., Ltd.
Im Jahr 2022 machte das Unternehmen strategische Schritte im Bereich der Precision Ceramic -Komponenten und erreichte die Lokalisierung hochtechnischer Präzisionsteile wie Heizplatten und elektrostatischen Chicks. Die technischen Kernindikatoren für die von Zhongci Electronics entwickelten Keramikheizungsplatten haben das Niveau ähnlicher internationaler Produkte erreicht und von den Benutzern überprüft. Sie wurden in Chargen in wichtigen Halbleiterausrüstungen in den heimischen Halbleiter angewendet. In loser Schüttung wurden Keramikheizplatten geliefert, und es wurden elektrostatische Chicks zur Probenprüfung geschickt.


+86-579-87223657


Wangda Road, Ziyang Street, Kreis Wuyi, Stadt Jinhua, Provinz Zhejiang, China
Copyright © 2024 VeTek Semiconductor Technology Co., Ltd. Alle Rechte vorbehalten.
Links | Sitemap | RSS | XML | Privacy Policy |
